Designed an injection‑moldable Happy Meal toy inspired by the Angry Birds game
The defining feature of this project was its modular block system. Two others and I designed seven unique block shapes, each incorporating a snap‑fit connection that allows them to be quickly assembled and rearranged. This modular approach enables users to build a wide variety of structures and create virtually endless game setups, enhancing both replayability and user creativity.

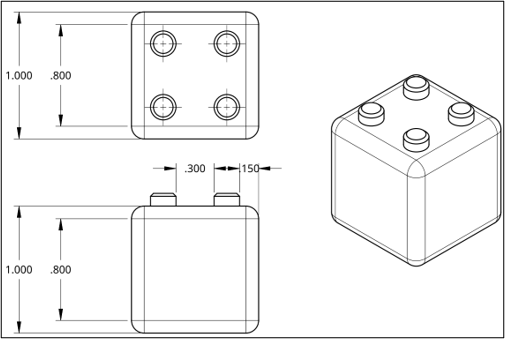
Base 1 × 1 inch brick design

Originally, the birds were simple printed blocks with stickers. To improve immersion and visual appeal, I redesigned all of the birds in SolidWorks to match their actual character shapes.

Rubber‑band‑powered slingshot designed for launching the birds

All parts were tested for durability and choking hazards

You may also like

Back to Top